温压补偿一体化涡街流量计可以替换在现场无法正常工作的分流旋翼式蒸汽流量计,现场液晶表头显示瞬时流量、累积流量,切换显示实时温度、实时压力、有温度、压力补偿功能,在测量气体、蒸汽时,根据实测温度、压力进行查表方式补偿,保证流量不受温度、压力变化,引起汽体密度的变化而影响流量计准确性。在饱和蒸汽和过热蒸汽转换状态下可自动切换。使用这种流量计可以大大提高计量的准确度。替代无法正常使用的旋翼式蒸汽流量计。

采用一体化结构的涡街流量计是集成了涡街流量传感器,压力变送器,温度传感器三种传感器于一体,所测量信号经流量计信号处理电路采用单片机技术进行数据处理,测量精度高。可以内置锂电池供电或者24VDC供电。涡街流量计的大优点是压电晶体内置在漩涡发生体内,避免外置式引起流体扰动,无零点漂移,可靠性高。具有RS-485 接口、Hart协议、ModBus 协议的可选通讯功能,有着非常稳定的零点和精度。

传感器口径:DN15 - DN300 (插入式为DN250 - DN12OO ) ,广泛应用于测量过热蒸汽、饱和蒸汽、压缩空气和一般气体及液体的体积流量。测量流体:饱和蒸汽、过热蒸汽、气体、液体(避免多相流)


部分:概述 • 产品的种类和适用范围
• LUGB 系列满管型压电式涡街流量仪表 • LUGB 系列插入型压电式涡街流量仪表 • LUGE 系列满管型电容式涡街流量仪表 • LUGE 系列插入型电容式涡街流量仪表 • LUGB/E 系列电池供电型涡街流量仪表 • 潜水型 / 分体型涡街流量仪表(协议订货) • 多功能曲线纪录积算仪,带 P/T 补偿功能、中文液晶显示 • 智能流量积算仪,数码管显示 LUGB/E 型涡街流量仪表广泛适用于石油 、 化工 、冶金、 热力 、 纺织 、 造纸等行业对过热蒸汽、饱和蒸汽、压缩空气和一般气体 、水和液体的计量和控制 .
工作原理
在流体中设置非流线型旋涡发生体(阻流体),则从旋涡发生体两侧交替地产生两列有规则的旋涡,这种旋涡称为卡曼涡街,如图 ( 一 ) 所示。

图 ( 一 )
旋涡列在旋涡发生体下游非对称地排列。设旋涡的发生频率为 f ,被测介质来流的平均速度为 V ,旋涡发生体迎流面宽度为 d ,表体通径为 D ,根据卡曼涡街原理,有如下关系式 :
f=StV/d 公式 (1)
式中:
f -发生体一侧产生的卡门旋涡频率
St -斯特罗哈尔数(无量纲数)
V -流体的平均流速
d -旋涡发生体的宽度
由此可见,通过测量卡门涡街分离频率便可算出瞬时流量。其中 , 斯特罗哈尔数( St )是无因次未知数,
图(二)表示斯特罗哈尔数( St )与雷诺数( Re )的关系。
概 述

图(二)
在曲线表中 St = 0.17 的平直部分,漩涡的释放频率与流速成正比 , 即为涡街流量传感器测量范围度。只要检测出频率 f 就可以求得管内流体的流速,由流速 V 求出体积流量。所测得的脉冲数与体积量之比,称为仪表常数( K ),见式( 2 )
K = N/Q ( 1/m 3) 公式( 2 )
式中: K =仪表常数( 1/m3 )。
N =脉冲个数
Q =体积流量( m3 )
主要技术指标 表 ( 一 )
| 公称通径 (mm) | 25 , 40 , 50 , 65 , 80 , 100 , 125 , 150 , 200 , 250 , 300 , (300 ~ 1000 插入式 ) |
| 公称压力 (MPa) | DN25-DN200 4.0(>4.0 协议供货 ) , DN250-DN300 1.6(>1.6 协议供货 ) |
| 介质温度 (℃) | 压电式: -40 ~ 260 , -40 ~ 320 ;电容式: -40 ~ 300, -40 ~ 400 , -40 ~ 450 (协议订货) |
| 本体材料 | 1Cr18Ni9Ti , ( 其它材料协议供货 ) |
| 允许振动加速度 | 压电式 : 0.2g 电容式 :1.0 ~ 2 .0g |
| 精确度 | ±1%R , ±1.5%R , ±1FS ;插入式: ±2.5%R , ±2.5%FS |
| 范围度 | 1 : 6 ~ 1 : 30 |
| 供电电压 | 传感器: +12V DC , +24V DC ;变送器: +12V DC , +24V DC ;电池供电型: 3.6V 电池 |
| 输出信号 | 方波脉冲 ( 不包括电池供电型 ) :高电平 ≥5V ,低电平 ≤1V ;电流: 4 ~ 20mA |
| 压力损失系数 | 符合 JB/T9249 标准 Cd≤2.4 |
| 防爆标志 | 本安型: ExdⅡia CT2-T5 隔爆型: ExdⅡCT2-T5 |
| 防护等级 | 普通型 IP65 潜水型 IP68 |
| 环境条件 | 温度 -20℃ ~ 55℃ ,相对湿度 5% ~ 90% ,大气压力 86 ~ 106kPa |
| 适用介质 | 气体、液体、蒸汽 |
| 传输距离 | 三线制脉冲输出型: ≤ 300m ,两线制标准电流输出型 (4 ~ 20mA) :负载电阻 ≤750Ω |
仪表口径的确定和安装设计
第二部分 : 仪表口径的确定和安装设计
仪表选型是仪表应用中非常重用的工作 , 仪表选型的正确与否将直接影响到仪表是否能够正常运行 . 因此用户和设计单位在选用产品时 , 请仔细阅读本节资料 , 认真核对 流体的工艺参数 并 随时可与的销售或技术支持部门联系,以确保选型正确。
一.适用流量范围和仪表口径的确定
仪表口径的选择,根据流量范围来确定。不同口径涡街流量仪表的测量范围是不一样的。即使同一口径流量表,用于不同介质时,它的测量范围也是不一样的。实际可测的流量范围需要通过计算确定。
( 一 ) 参比条件下空气及水的流量范围,见表(二), 参比条件如下:
1 .气体: 常温常压空气, t= 20℃ , P=0.1MPa (绝压), ρ= 1.205 kg /m 3 , υ=15×10 -6 m 2 /s 。
2 .液体: 常温水, t= 20℃ , ρ= 998.2kg /m 3 , υ=1.006×10 -6 m 2 /s 。
(二)确定流量范围和仪表口径的基本步骤:
1 . 明确以下工作参数。
( 1 )被测介质的名称、组份
( 2 )工作状态的流量
( 3 )介质的压力和温度
( 4 )工作状态下介质的粘度
2 . 涡街流量仪表测量的是介质的工作状态体积流量,因此应先根据工艺参数求出介质的工作状态体积流量 , 相关公式如下:
( 1 )已知气体标准状态体积流量,可通过以下公
式求出工况体积流量
公式( 3 )
(2) 已知气体标准状态密度ρ,可通过以下公
式求出工况密度
公式( 4 )
( 3 )已知质量流量 Q m 换算为体积流量 Q v
公式( 5 )
式中:
Q v : 介质在工况状态下的体积流量 (m 3 /h)
( Q v = 3600f /K K: 仪表系数 )
Q o : 介质在标准状态下的体积流量 (Nm 3 /h)
Q m : 质量流量 (t/h)
ρ: 介质在工况状态下的密度 (kg/m 3 )
ρ o :介质在标准状态下的密度 (kg/m 3 ) ,常用气体介质的标准状态密度,见表(三)
P : 工况状态表压 (MPa)
t : 工况状态温度 (℃)
3 .仪表下限流量的确定。涡街流量仪表的上限适用流量一般可不计算,涡街流量仪表口径的选择主要是对流量下限的计算。下限流量的计算应该满足两个条件:小雷诺数不应低于界限雷诺数( Re=2×10 4 );对于应力式涡街流量仪表在下限流量时产生的旋涡强度应大于传感器旋涡强度的允许 值(旋涡强度与升力 ρ v 2 成比例关系)。这些条件可表示如下:
由密度决定的工况可测下限流量:

由运动粘度决定的线性下限流量:
公式( 7 )
式中:
Q ρ :满足旋涡强度要求的小体积流量 (m 3 /h)
ρ 0 : 参比条件下介质的密度
Q υ : 满足小雷诺数要求的小线性体积流量 (m 3 /h)
ρ : 被测介质工况密度( kg/m 3 )
Q 0 : 参比条件下仪表的小体积流量
(m 3 /h)
υ : 工作状态下介质的运动粘度 (m 2 /s)
υ o : 参比条件下介质的 运动粘度 (m 2 /s)
通过 公式( 6 )、( 7 )计算出 Q ρ 和 Q ν 。 比较 Q ρ 和 Q ν , 确定流量仪表可测下限流量和线性下限流量:
Q υ ≥ Q ρ :可测流量范围为 Q ρ ~ Qmax , 线性流量范围为 Q υ ~ Qmax
Q υ < Q ρ :可测流量范围和 线性流量范围为
Q ρ ~ Qmax
Qmax :涡街流量仪表的上限体积流量 (m 3 /h)
公式( 6 ) 4 .仪表上限流量以表 ( 二 ) 中的上限流量为准 . 气体的上限流速应该小于 70m /s, 液体的上限流速应该小于 7m /s
5 . 当 用户测量的介质为蒸汽时,常采用的计量单位是质量流量,即: t/h 或 Kg/h 。由于蒸汽(过热蒸汽和饱和蒸汽)在不同温度和压力下的密度是不同的,因此蒸汽流量范围的确定可由公式 (8) 进行计算得出
公式( 8 )
式中:
ρ : 蒸汽的密度( kg/m 3 )
ρ 0 : 1.205kg /m 3
Q 蒸汽 :蒸汽质量流量( t/h )
6 .计算压力损失,检测 压力损失对工艺管线是否有影响 ,公式 ( 单位: Pa) :
Δ p= Cd ρ V 2 /2 公式( 9 )
式中:
ρ :工况介质密度( kg/m 3 ) V: 平均流速( m/s )
7 . 被测介质为液体时 , 为防止气化和气蚀 , 应使管道压力符合以下要求 :
p ≥ 2.7 Δ p+1.3p 0 公式( 10 )
式中:
Δ p: 压力损失( Pa )
p 0 :工作温度下液体的饱和蒸汽压( Pa 绝压)
Po: 流体的蒸汽压力 (Pa 绝压 )
8 . 涡街流量计不适合测量高粘度液体。当计算出的可测流量下限不满足设计工艺要求时,应该考虑选用其它类型流量计。
9 .通过计算如果有两种口径都可满足要求,为了提高测量效果、降低造价,应选用口径较小的表。应该注意的是,尽可能使常用量处在流量范围上限的 1/2 ~ 2/3
Δ p: 压力损失( Pa ) Cd :压力损失系数
表 ( 二 ) 参比条件下涡街流量传感器工况流量范围表
| 仪表口径 (mm) | 液体 | 气体 | ||
| 测量范围 (m 3 /h) | 输出频率范围 (Hz) | 测量范围 (m 3 /h) | 输出频率范围 (Hz) | |
| 25 | 1.2 ~ 16 | 25 ~ 336 | 8.8 ~ 55 | 190 ~ 1140 |
| 40 | 2 ~ 40 | 10 ~ 200 | 27 ~ 205 | 140 ~ 1040 |
| 50 | 3 ~ 60 | 8 ~ 160 | 35 ~ 380 | 94 ~ 1020 |
| 80 | 6.5 ~ 130 | 4.1 ~ 82 | 86 ~ 1100 | 55 ~ 690 |
| 100 | 15 ~ 220 | 4.7 ~ 69 | 133 ~ 1700 | 42 ~ 536 |
| 150 | 30 ~ 450 | 2.8 ~ 43 | 347 ~ 4000 | 33 ~ 380 |
| 200 | 45 ~ 800 | 2 ~ 31 | 560 ~ 8000 | 22 ~ 315 |
| 250 | 65 ~ 1250 | 1.5 ~ 25 | 890 ~ 11000 | 18 ~ 221 |
| 300 | 95 ~ 2000 | 1.2 ~ 24 | 1360 ~ 18000 | 16 ~ 213 |
| (300) | 100 ~ 1500 | 5.5 ~ 87 | 1560 ~ 15600 | 85 ~ 880 |
| (400) | 180 ~ 3000 | 5.6 ~ 87 | 2750 ~ 27000 | 85 ~ 880 |
| (500) | 300 ~ 4500 | 5.6 ~ 88 | 4300 ~ 43000 | 85 ~ 880 |
| (600) | 450 ~ 6500 | 5.7 ~ 89 | 6100 ~ 61000 | 85 ~ 880 |
| (800) | 750 ~ 10000 | 5.7 ~ 88 | 11000 ~ 110000 | 85 ~ 880 |
| (1000) | 1200 ~ 1700 | 5.8 ~ 88 | 17000 ~ 170000 | 85 ~ 880 |
| >(1000) | 协议 |
| 协议 |
|
注:表中 (300) ~ (1000) 口径为插入式
表 ( 三 ) 常用气体介质的标准状态密度( 0℃ ,绝压 P=0.1MPa )
| 气体名称 | 密度 (kg/m 3 ) | 气体名称 | 密度 (kg/m 3 ) |
| 空气 ( 干 ) | 1.2928 | 乙炔 | 1.1717 |
| 氮气 | 1.2506 | 乙烯 | 1.2604 |
| 氧气 | 1.4289 | 丙烯 | 1.9140 |
| 氩气 | 1.7840 | 甲烷 | 0.7167 |
| 氖气 | 0.9000 | 乙烷 | 1.3567 |
| 氨气 | 0.7710 | 丙烷 | 2.0050 |
| 氢气 | 0.08988 | 丁烷 | 2.7030 |
| 一氧化碳 | 1.97704 | 天然气 | 0.8280 |
| 二氧化碳 | 1.3401 | 煤制气 | 0.8020 |
( 三 ) 选型举例:
例一:已知气体压力和温度及标况下的流量时
某压缩空气,标况流量范围为 Q N =1 200-12000Nm 3 /h , 压力 P=0.7Mpa( 表压 ) ,温度 t= 30℃ 。试确定流量计口径。
步骤一:计算压缩空气的工况体积流量
由公式 (3):
工况使用下限体积流量为 :
Q vmin =Q N ×0.101325×(273.15+t)/293.15/ ( P +0.1 )
=1200×0.101325×(273.15+30)/293.15/ ( 0.7 +0.1 )
=157(m 3 /h)
工况使用流量上限为 : Q vmax =1570(m 3 /h)
步骤二:根据使用工况流量范围 157 -1570m 3 /h ,查表(二),满足下限流量条件的流量计为 DN80 、 DN100 和 DN125 ,考虑到上限流量 1270m 3 /h 及使用效果和经济成本,初选 DN100, DN100 流量计的工况流量范围是 100 -1700m 3 /h ,接近使用流量范围,初选 DN100 流量计,但应具体核算 DN100 流量计在该工况条件下的可测下限流量。核算 DN100 流量计在该工况条件下的可测下限流量:
由公式 (4) 及公式 (6):


=37.46(m 3 /h)
即,流量计在该工况条件下的可测下限流量是
37.46m 3 /h ,远小于要求的工况下限流量 157m 3 /h ,确定选用 DN100 流量计。
例二:已知蒸汽压力和温度及工况流量时
测量介质为过热蒸汽,蒸汽温度为 320 ℃ ,压力为 1.5MPa (绝压) , 流量范围为 3t/h ~ 25t/h, 试 确定流量计口径。
步骤一:计算蒸汽的等效空气参比条件下的体积流量范围,经查附表 ( 二 ), 该状态下蒸汽的密度为 : 5.665Kg /m 3 , 由公式 (8) :


=765(m 3 /h)
6379(m 3 /h)
步骤二:根据等效参比流量范围 765 -6379m 3 /h ,查表(二),比较适合该流量范围为 DN200 口径。
二.仪表的安装设计
仪表的正确安装是保障仪表正常运行的重要环节,若安装不当,轻则影响仪表的使用精度,重则会影响仪表的使用寿命,甚至会损坏仪表。
安装环境要求:
尽可能避开强电设备、高频设备、强开关电源设备。仪表的供电电源尽可能与这些设备分离。
避开高温热源和辐射源的直接影响。若必须安装,须有隔热通风措施。
避开高湿环境和强腐蚀气体环境。若必须安装,须有通风措施。
涡街流量仪表应尽量避免安装在振动较强的管道上。若必须安装,须在其上下游 2D 处加设管道紧固装置,并加防振垫,加强抗振效果。
仪表好安装在室内,安装在室外应注意防水,特别注意在电气接口处应将电缆线弯成 U 形,避免水顺着电缆线进入放大器壳内。
仪表安装点周围应该留有较充裕的空间,以便安装接线和定期维护。
仪表管道安装要求 :
涡街流量仪表对安装点的上下游直管段有要求,否则会影响介质在管道中的流场,影响仪表的测量精度。仪表的上下游直管段长度要求见图 ( 三 )
DN 为仪表工称口径 单位 :mm
| 传感器上游 管道型式 | 前后直管段长度 | 传感器上游 管道型式 | 前后直管段长度 |
| 同心收缩 全开阀门 | ![]() | 一个 90 度 弯头 | ![]() |
| 同一平面两 个 90 度弯头 |
| 不同平面两 个 90 度弯头 |
|
| 同心扩管 |
| 调节阀半开 阀门 ( 不推荐 ) |
|
图 ( 三 )
注 : 调节阀尽可能不安装在涡街流量仪表的上游 , 而应安装在涡街流量仪表的下游 10D 处。
上、下游配管内径应相同。如有差异,则配管内径 Dp 与涡街仪表表体内径 Db, 应满足以下关系
0.98Db≤Dp≤1.05Db
上、下游配管应与流量仪表表体内径同心,它们之间的不同轴度应小于 0.05Db
仪表与法兰之间的密封垫,在安装时不能凸入管内,其内径应比表体内径大 1 -2mm
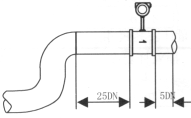
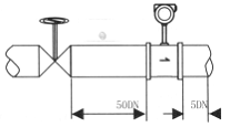
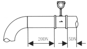
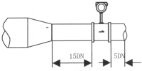
测压孔和测温孔的安装设计。被测管道需要安装温度和压力变送器时,测压孔应设置在下游 3-5D 处,测温孔应设置在下游 6-8D 处,见图(七)。 D 为仪表工称口径,单位: mm
仪表在在管道上可以水平、垂直或倾斜安装。
测量气体时,在垂直管道安装仪表,气体流向不限。但若管道内含少量液体,为了防止液体进入仪表测量管,气流应自下而上流动,如图(四) a 所示
测量液体时,为了保证管内充满液体,所以在垂直或倾斜管道安装仪表时,应该保证液体流动方向从下而上。若管道内含少量气体,为了防止气体进入仪表测量管,仪表应安装在管线的较低处
如图(四) b 所示

图(四)
测量高温、低温介质时,应注意保温措施。转换器内部(表头壳体内)高温一般不应超过 70 ℃ ;低温易使转换器内部出现凝露,降低印制电路板的绝缘阻抗,影响仪表正常工作。
• 图(五) 仪表的安装外形尺寸:见图(五)、图(六)
| 口径( mm ) ( mm ) | A | B | C | C H |
| 15~25 | 70 | 55 | 390 | 455 |
| 40 | 85 | 80 | 385 | 440 |
| 50 | 88 | 90 | 390 | 450 |
| 65 | 85 | 105 | 400 | 470 |
| 80 | 90 | 120 | 420 | 480 |
| 100 | 80 | 140 | 440 | 500 |
| 125 | 95 | 168 | 465 | 530 |
| 150 | 100 | 194 | 490 | 560 |
| 200 | 104 | 248 | 545 | 610 |
| 250 | 115 | 300 | 600 | 660 |
| 300 | 130 | 350 | 650 | 710 |
图(五)
仪表的安装外形尺寸:见图(五)、图(六)

( 五 ) 压力变送器和 Pt100 安装示意图

球阀插入式涡街仪表安装定位尺寸
表(五) 
| 口径 ( mm ) | DN250 | DN300 | DN400 | DN500 | DN600 | DN800- 2000 |
| L | 60.5 | 58 | 65.5 | 60.5 | 55.5 | 45.5 |
(四)插入式涡街流量仪表安装步骤 :
在管道上用气焊开一个略小于φ 100mm 的圆孔,并把圆孔周围毛刺清除干净,以保证测头旋转流利
• 在管道圆孔处焊上厂家提供的法兰,要求法兰轴线与管道轴线垂直。 将球阀及传感器安装在焊接好的发兰上。
调节丝杠,使插入深度符合要求( 保证测头中心轴线和管道中心轴线重合 ),流体流向必须与方向标上的指示箭头保持一致。
均匀拧紧压盖上的螺丝。 ( 注:压盖的松紧程度决定仪表的密封程度和丝杠能否旋动 )
检查各环节是否完成好,慢慢打开阀门观察是否有泄漏(需特别注意人身安全)若有泄露请重复步骤 5 、 6
仪表配线设计及参数设置
第三部分 : 仪表配线设计
一 . 输出频率信号的三线制涡街流量仪表配线设计
输出频率信号的三线制流量传感器采用 DC24V 或 DC12V 电源供电,一般通过三芯屏蔽电缆线 (RWP3 × 0.5mm ) 与显示仪表或计算机相连,屏蔽层应可靠地接到放大器壳的接地螺丝上。屏蔽电缆线的选择应适合现场环境要求,另外屏蔽电缆线要与其它强功率电力线分离,不能平行走线。传感器端子接线见图(八)

二.输出标准 4 ~ 20mA 电流信号的两线制涡街流量仪表配线设计
输出标准 4 ~ 20mA 电流信号的两线制变送器采用 DC24V 电源供电,一般通过两芯屏蔽电缆线 (RWP3 × 0.5mm ) 与显示仪表或计算机相连,屏蔽层应可靠地接到放大器壳的接地螺丝上。屏蔽电缆线的选择应适合现场环境要求,另外屏蔽电缆线要与其它强功率电力线分离,不能平行走线。变送器端子接线见图(九)

三.带 RS-485 通讯接口功能的涡街流量仪表配线设计
带 RS-485 通讯功能的涡街流量仪表采用 DC24V 电源供电,与其它设备之间采用四线制传输方式。仪表
端子接线见图(十)

四.防暴型涡街流量仪表配线设计
LUGB/E 三线制脉冲输出型涡街流量仪表与 LB978 齐纳安全栅相连、 LUGB/E 两线制标准 4 ~ 20mA 电流输出 型涡街流量仪表与 LB987S 齐纳安全栅相连可构成本质安全型防爆系统,产品防爆标志为 Ex ia Ⅱ CT2-T5 。本安防爆型涡街流量传感器 / 变送器与防爆安全栅和积算系统等关联设备的接线性请参看防爆安全栅厂家提供的接线说明和以下所示图(十一),图(十二)。


图(十二)
注意事项:
( 1 )防爆型传感器和变送器安装于危险场所,安全栅、显示仪表、供电电源,计算机等关联设备必须安装在安全场所。
( 2 )传感器和变送器应有可靠接地,防爆地线不得与强电系统保护接地共用。
五.两线制液晶显示表头参数设置操作说明
1 、面板按键说明
进入参数设置状态 / 翻页 / 确认写入

数字左移 / 设置小数点 / 清零

数字由 0-9 循环 / 标志位切换 / 瞬时流量和累计流量切换
返回
2 、显示窗字符说明
液晶显示标志字符定义见表(一): 表(一 )
| 符号 | 定义说明 | 符号 | 定义说明 | 备注 |
| QP | 小数点设置 | F | 满度流量 Q 对应的频率值( Hz ) | |
| Q | 满度流量值 ( m 3 /h 或 km 3 /h ) | F0 | 小信号切除频率值 | |
| P AA | 密码修改项 | P EE | 线性修正项 |
3 、操作说明:
本仪表表头操作界面采用菜单形式进行参数设置,框图如下:

Y
3 . 1 仪表出厂前已将各参数根据用户订货要求设置完毕,用户无须设置。如用户需要改变量程,请按下述方法设定。例如,φ 600 插入式流量表,原满度流量为 50000m 3 /h ,频率为 694.4Hz 。满度流量现改为 70000m 3 /h ,频率为 972.2Hz 进入每项流量参数设置页后,其右端标志字符均进行闪动提示,每项参数设置完毕后,必须按 SET 键确认才能写入存储。

3 . 3 线性修正设置说明
在 菜单选择项 状态,步骤(四),调整该项值为“ 03 ” ,进入 线性修正菜单
线性修正项: 若“ AA ”闪动,代表仪表工作在线性修正状态,若“ P ”闪动,代表仪表工作在非修正状态,须输入认证码进入修正参数设置菜单。为了保证数据的安全性,通行码不对用户开放。按→键可以返回 菜单选择项 。
EE
( 十 )
3 . 4 小流量切除说明
当安装仪表现场的管道振动过大,无实际流量而有干扰信号输出,可以采用小流量切除功能将干扰信号切除,切除信号频率范围一般要求低于仪表的下限量程,具体设置因情况而定。
温压补偿一体化智能表头操作说明
• 键盘按键说明
表(一)
功能 键名 | 工作状态 | 参数设置状态 | 校验状态 |
| 进入参数设置 | 确认 / 翻页 | 校验开始 |
![]() | —— | 数字左移 / 清零 | —— |
![]() | 显示画面切换 | 数字由 0-9 循环 / 小数点设置 | 校验点切换 |
![]() | —— | 返回上级菜单直到工作页面 | 退出校验状态并写入 |
二、 显示窗字符说明
工作状态液晶显示标志字符定义见表(二): 表(二 )
| 符号 | 定义说明 | 符号 | 定义说明 | 备注 |
| Q | 工况体积流量 ( m 3 /h ) | F | 瞬时工作频率( Hz ) |
|
| QT | 瞬时质量流量 ( kg/h 或 t/h ) | T | 工作温度(℃) |
|
| Q' | 瞬时标况流量( Nm 3 /h 或 K Nm 3 /h ) | P | 工作压力( MPa ) |
|
参数设置状态 液晶显示标志字符定义见表(三): 表(三)
| 符号 | 定义说明 | 符号 | 定义说明 | 备注 |
| QT | 刻度流量( t/h 或 kg/h ) | dx | 补偿模式( QT 为提示符) ( d0- 饱和, d1- 过热) |
|
| Q' | 刻度流量( Nm 3 /h 或 kg/h ) | d | 气体对比压缩系数( Zn/Z ) | 默认值为 1 |
| U.x | 流量单位 ( U.0-kg/h 或 Nm 3 /h ; U.1- t /h 或 KNm 3 /h ) | Γ x | 温度模式( T 为提示符) (Γ 0- 动态,Γ 1- 定值) | T 闪动,设置模式 Γ 1 闪动,设置定值 |
| Co | 仪表系数(脉冲数 / m 3 ) | Px | 压力模式( P 为提示符) ( P0- 动态,同时设定压力量程) ( P1- 定值,同时设定压力定值) | P 闪动,设置模式 Px 闪动,设置压力量程或定值 |
| Fo | 小信号切除频率( Hz ) |
|
|
|
注:表中 x 代表“ 0 ”或“ 1 ”; Zn :标准状态下( 20 ℃, 1 标准大气压 ),被测气体的压缩系数, Z :工作状态下被测气体的压缩系数
三、 操作说明
1 、 本仪表表头采用自导引式和菜单式相结合的参数设置方式,所谓自导引式参数设置方式就是用户在进入菜单 00 项后,表头中的微电脑会自动导引用户去设置需要设置的参数。另外,用户也可以通过菜单模式分别对各组参数进行设置。蒸汽测量菜单框图如下:

注:
1 、补偿模式 dx ,在气体测量菜单中的标识符为 d ,代表意义为:气体对比压缩系数,默认值为 1
2 、如果用于测量蒸汽,
菜单 00 项会根据所设置的补偿模式的不同而自动导引其它设置参数项

2 、 参数设置约定:在设置各项参数时,提示符闪动代表该项参数没有设置完或者尚未确认,可以通过按 SET 键来确认或者按 键退出;提示符不闪动代表该项参数已设置完并确认,此时可以通过按 SET 键翻页或者按 键退出。进入参数设置时,需要输入密码( 6 位)并确认进入,为了防止误进入参数设置菜单,保证仪表正常工作,在设置密码时,使用 键调数时不能循环调数,只能单次调数,只有密码输入正确进入各项参数设置菜单后才可以对各位循环连续调整数据。
3 、仪表参数设置举例:
仪表出厂前各项参数已设置好,用户无需设置。如果用户需要设置某项参数,请参照以下步骤,例如修改刻度流量值 QT:





另外,单位设置 U.X 和补偿方式设置 dX 通过↑键调整修改。
4 、校验项说明 : 仪表出厂前,温度和压力通道已校验设置好,无需用户重新校验。校验通道有密码保护,厂家不对外开放,如果需要重新校验温度或者压力通道,请专业人员与厂家技术人员联系。
四、计算公式说明
1 、蒸汽测量计算公式
( 1 )涡街流量仪表工况体积流量计算公式: 
( 2 )密度 d ,单位 Kg/m 3
( 3 )质量流量计算公式,单位 Kg/h : 
(4) 质量流量计算公式,单位 t/h : 
1 、气体测量计算公式 ---- 标况指 20 ℃ , 1 标准大气压
( 1 )涡街流量仪表工况体积流量计算公式: 
( 2 )对比压缩系数 d ( Zn/Z ) ,单位 1
( 3 )标况流量计算公式,单位 Nm 3 /h : 
P1— 工况绝压, PN— 标况绝压( Mpa ), Z1— 工况热力学温度, ZN— 标况热力学温度 (K)
(4) 质量流量计算公式,单位 t/h : 
订货须知及选型样谱
一.尊敬的用户,当您要选用产品时,请仔细阅读选型样本,并做好以下工作:
1 .认真核对被测介质的工况条件:温度、压力、管径等工艺参数。 2 .认真核对被测介质的使用流量范围,特别是小流量值以终确定使用仪表的口径及配管参数。 3 .确定仪表的安装地点,保证直管段,并为仪表的安装维护创造好的环境条件。 4 .填好订货咨询单,见附表三
二.涡街流量仪表选型表 (符合 JB/T9294-1999 标准)
1 . 传感器选型表
LUGB/E 系列涡街流量仪表选型表
| 型 谱 | 说 明 | ||||||||
| LU |
| 涡街流量仪表 | |||||||
| G |
| 传感器 | |||||||
| 检测 方式 |
| B |
| 压电式传感器 | |||||
| E |
| 电容式传感器 | |||||||
| 连接方式 |
| 1 | 仅对满管型 | 法兰连接型 | |||||
| 2 | 仅对满管型 | 法兰卡装型 | |||||||
| 3 | 仅对插入型 | 简易插入型 | |||||||
| 4 | 仅对插入型 | 球阀插入型 | |||||||
| 测量介质 |
| 2 |
|
| 液体 | ||||
| 3 |
|
| 气体 | ||||||
| 4 |
|
| 蒸汽 | ||||||
| 公称通径 |
| 02 … 30 |
| DN25 … 单位: mm DN300 | |||||
| 使用环境 | P |
| 普通型 | ||||||
| B |
| 防爆型 | |||||||
| 输出信号 |
| 1 | 脉冲输出 | ||||||
| 2 | 4 ~ 20mA 电流输出,液晶显示 | ||||||||
| 3 | RS-485 通讯 | ||||||||
| 4 | 电池供电,不带温度、压力补偿 | ||||||||
| 5 | 温压补偿一体, 4 ~ 20mA 电流输出型 | ||||||||
| 6 | 温压补偿一体,电池供电型 | ||||||||
| 选型 说明 | 例如: LUGE2405-P2 满管型电容式涡街流量仪表,法兰卡装型连接,介质为蒸汽 仪表通径为 DN50, 普通 4 ~ 20mA 电流信号输出 | ||||||||
2. 传感器的公称通径编号对照表
| 公称通径 DN mm | 25 | 32 | 40 | 50 | 65 | 80 | 100 | 125 | 150 | 200 | 250 |
| 标记号 | 02 | 03 | 04 | 05 | 06 | 08 | 10 | 12 | 15 | 20 | 25 |
| 公称通径 DN mm | 300 | 350 | 400 | 450 | 500 | 600 | 700 | 800 | 1000 | 1200 | 1500 |
| 标记号 | 30 | 35 | 40 | 45 | 50 | 60 | 70 | 80 | A0 | A2 | A5 |
模板保护代码0528
没有评价数据