全部分类
全部分类
×
LWGY液体涡轮流量计传感器,无现场显示脉冲信号输出带连接线涡轮流量计
×
收藏

LWGY液体涡轮流量计传感器,无现场显示脉冲信号输出带连接线涡轮流量计

液体涡轮流量传感器

原价
1000.00-4350.00
售价
1000.00-4350.00
0销量
手机购买

加载中...

可选规格
  • 产地: 中国大陆
  • 流量计类型: 涡轮流量计
  • LWGY 液体涡轮流量计

    高精确度 , 一般可达; 1%R, ; 0.5%R
    重复性好 , 短期重复性可达 0.05%-0.2%
    抗干扰能力强 , 无零点漂移
    信号分辨力强 , 可获得 3-4KHz 的频率信号
    结构紧凑轻巧 , 安装维护方便 , 流通能力大

    一、概 述
    LWGY 系列涡轮流量计具有结构简单、轻巧、精度高、复现性好、反应灵敏 , 安装维护使用方便等特点 , 广泛用于测量封闭管道中与不锈钢 1Cr18Ni9Ti 、 2Cr13 及刚玉 AI2O3 、硬质合金不起腐蚀作用 , 且无纤维、颗粒等杂质 , 工作温度下运动粘度小于 5 ; 10-6m2/s 的液体 , 对于运动粘度大于 5 ; 10-6m2/s 的液体 , 可对流量计进行实液标定后使用 . 若与具有特殊功能的显示仪表配套 , 还可以进行定量控制、超量报警等 , 是流量计量和节能的仪表 .
    二、产品特点
    高精确度 , 一般可达; 1%R 、; 0.5%R, 高精度型可达; 0.2%R ;
    重复性好,短期重复性可达 0.05%~0.2%, 正是由于具有良好的重复性,如经常校准或在线校准可得到的精确度,在贸易结算中是优先选用的流量计;
    输出脉冲频率信号,适于总量计量及与计算机连接,无零点漂移,抗干扰能力强;
    获得很高的频率信号( 3~4kHz ),信号分辨力强;
    范围度宽,中大口径可达 1:20 ,小口径为 1:10 ;
    结构紧凑轻巧,安装维护方便,流通能力大;
    适用高压测量,仪表表体上不必开孔,易制成高压型仪表;
    专用型传感器类型多,可根据用户特殊需要设计为各类专用型传感器,例如低温型、双向型、井下 型、混砂专用型等;
    可制成插入型,适用于大口径测量,压力损失小,价格低,可不断流取出,安装维护方便。
    三、仪表分类
    1 .按仪表功能分类, LWGY 系列涡轮流量计可分为 2 大类,即:涡轮流量传感器 / 变送器 ■智能一体化涡轮流量计
    2 .功能说明 ■涡轮流量传感器 / 变送器

    该类涡轮流量产品本身不具备现场显示功能,仅将流量信号远传输出。流量信号可分为脉冲信号或电流信号( 4-20mA );仪表价格低廉,集成度高,体积小巧,特别适用于与二次显示仪、 PLC 、 DCS 等计算机控制系统配合使用。
    该类涡轮流量产品均分为基本型和防爆型( ExdIIBT6 )两种,外形如图

     

    图 1 基本型传感器 / 变送器


    图 2 防爆型 传感器 / 变送器

     

    按照不同的输出信号,该类产品可分为 LWGY- □ N 型和 LWGY- □ A 型

    LWGY- □ N 型传感器: 12 ~ 24VDC 供电,三线制脉冲输出,高电平≥ 8V ,低电平≤ 0.8V ;信号传输距离≤ 1000 米;
    LWGY- □ A 型变送器: 24VDC 供电,二线制 4-20mA 输出,信号传输距离≤ 1000 。

    图 3 智能一体化涡轮流量计

    采用双排液晶现场显示,具有机构紧凑、读数直观清晰、可靠性高、不受外界电源干扰、抗雷击、成本低等明显优点。仪表具备仪表系数三点修正,智能补偿仪表系数非线性,并可进行现场修正。高清晰液晶显示器同时显示瞬时流量( 4 位有效数字)及累积流量( 8 位有效数字,带清零功能)。所有有效数据掉电后保持 10 年不丢。该类涡轮流量计均为防爆产品,防爆等级为: ExdIIBT6 。该类涡轮流量计按照供电方式、是否具备远传信号输出可分为 LWGY- □ B 型和 LWGY- □ C 型;

    LWGY- □ B 型:供电电源采用 3.2V10AH 锂电池(可连续运行 4 年以上); 无信号输出功能;LWGY- □ C 型:供电电源采用 24VDC 外供电,输出 4-20mA 标准两线制电流信号,并可根据不同的现场需要,可增加 RS485 或 HART 通讯。

    1. 基本参数:

     

    表 1

    仪表口径( mm )及连接方式精度等级量程比仪表材质被测介质温度(℃)环境条件输出信号供电电源信号传输线传输距离信号线接口防爆等级

    防护等级

    4 、 6 、 10 、 15 、 20 、 25 、 32 、 40 采用螺纹连接( 15 、 20 、 25 、 32 、 40 ) 50 、 65 、 80 、 100 、 125 、 150 、 200 采用法兰连接± 1%R 、± 0.5%R 、± 0.2%R (需特制)1:10:1:15:1:20304 不锈钢、 316 ( L )不锈钢等-20 ~+ 120 ℃温度- 10 ~ +55 ℃,相对湿度 5 %~ 90 %,大气压力 86 ~ 106Kpa传感器:脉冲频率信号,低电平≤ 0.8V 高电平≥ 8V变送器:两线制 4 ~ 20mADC 电流信号传感器: +12VDC 、 +24VDC (可选)变送器: +24VDC现场显示型:仪表自带 3.2V 锂电池或 +24VDC 外供电STVPV3 × 0.3 (三线制), 2 × 0.3 (二线制)≤ 1000m基本型:豪斯曼接头或自带三芯线缆;防爆型:内螺纹 M20 × 1.5基本型:非防爆产品;防爆型: ExdIIBT6IP65

     

    2. 测量范围及工作压力

     

    仪表口径
    ( mm )

    正常流量范围
    ( m3/h )

    扩展流量范围
    ( m3/h )

    常规连接方式
    与耐压等级

    特制耐压等级( MPa )
    (带径法兰连接方式)

    DN 4

    0.04 ~ 0.25

    0.04 ~ 0.4

    螺纹连接 /6.3MPa

    10 、 16 、 25

    DN 6

    0.1 ~ 0.6

    0.06 ~ 0.6

    螺纹连接 /6.3MPa

    10 、 16 、 25

    DN 10

    0.2 ~ 1.2

    0.15 ~ 1.5

    螺纹连接 /6.3MPa

    10 、 16 、 25

    DN 15

    0.6 ~ 6

    0.4 ~ 8

    螺纹连接 /6.3MPa

    4.0 、 6.3 、 12 、 16 、 25

    法兰连接

    DN 20

    0.8 ~ 8

    0.45 ~ 9

    螺纹连接 /6.3MPa

    4.0 、 6.3 、 12 、 16 、 25

    法兰连接

    DN 25

    1 ~ 10

    0.5 ~ 10

    螺纹连接 /6.3MPa

    4.0 、 6.3 、 12 、 16 、 25

    法兰连接 /2.5MPa

    DN 32

    1.5 ~ 15

    0.8 ~ 15

    螺纹连接 /6.3MPa

    4.0 、 6.3 、 12 、 16 、 25

    法兰连接 /2.5MPa

    DN 40

    2 ~ 20

    1 ~ 20

    螺纹连接 /6.3MPa

    4.0 、 6.3 、 12 、 16 、 25

    法兰连接 /2.5MPa

    DN 50

    4 ~ 40

    2 ~ 40

    法兰连接 /2.5MPa

    4.0 、 6.3 、 12 、 16 、 25

    DN 65

    7 ~ 70

    4 ~ 70

    法兰连接 /2.5MPa

    4.0 、 6.3 、 12 、 16 、 25

    DN 80

    10 ~ 100

    5 ~ 100

    法兰连接 /2.5MPa

    4.0 、 6.3 、 12 、 16 、 25

    DN 100

    20 ~ 200

    10 ~ 200

    法兰连接 /2.5MPa

    4.0 、 6.3 、 12 、 16 、 25

    DN 125

    25 ~ 250

    13 ~ 250

    法兰连接 /1.6MPa

    2.5 、 4.0 、 6.3 、 12 、 16

    DN 150

    30 ~ 300

    15 ~ 300

    法兰连接 /1.6MPa

    2.5 、 4.0 、 6.3 、 12 、 16

    DN 200

    80 ~ 800

    40 ~ 800

    法兰连接 /1.6MPa

    2.5 、 4.0 、 6.3 、 12 、 16

    表 3

    型 号

    说 明

    LWGY ─

    / □

    / □

    / □

    / □

    / □

    / □

    公称
    通径

    4







    4mm

    6

    6mm

    10

    10mm

    15

    15mm

    20

    20mm

    25

    25mm

    32

    32mm

    40

    40mm

    50

    50mm

    65

    65mm

    80

    80mm

    100

    100mm

    125

    125mm

    150

    150mm

    200

    200mm

    类 型

    N

    传感器型: +12V 或 24V 供电,输出三线制脉冲信号

    A

    变送器型: +24V 供电,输出二线制 4 ~ 20mA

    B

    智能型:锂电池供电,现场显示无信号输出

    C

    智能型: +24V 供电,现场显示并输出二线制 4 ~ 20mA

    C1

    智能型: +24V 供电,现场显示并带有 RS486 通讯协议

    C2

    智能型: +24V 供电,现场显示并带有 HART 通讯协议

    精度等级

    05

    0.5 级

    10

    1.0 级

    02


    0.2 级(协商订货,生产周期较长)

    涡 轮
    类 型

    W

    扩展测量范围

    S

    标准测量范围

    材 质

    S

    304 不锈钢

    L

    316 ( L )不锈钢

    防 爆

    N

    非防爆型

    E

    防爆型, Exd Ⅱ BT6

    压力等级

    N

    常规 (参照表 2 )

    H(x)

    高压 (参照表 2 )

     

    注: DN15 ~ DN40 常规为螺纹连接,如希望采用法兰连接,请在“公称通径”后加“( FL )”
    例如,选用一台法兰连接式防爆型涡轮流量计测量柴油,管道为 DN40 、现场需要显示并远传电流信号,要求精度 0.5 级, 304 不锈钢材质,仪表耐压 16MPa 测量范围为标准量程,其产品型号应为: LWGY-40(FL)/C/05/S/S/E/H16

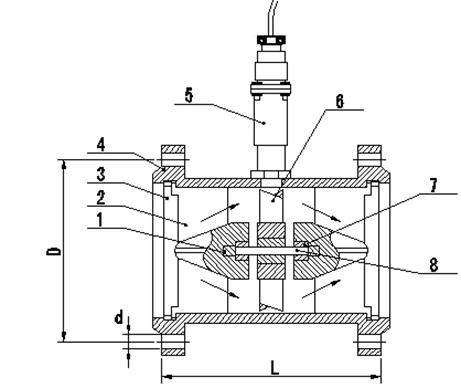
    传感器的安装方式根据规格不同,采用螺纹或法兰连接,安装方式见图 6 、图 7 、图 8 ,安装尺寸见表 4 。

     

    图 6


    图 7


    图 8

     

    图 4 DN4 ~ DN10
    螺纹连接型涡轮流量传感器(含直管段部分)尺寸图
    图 5 DN15 ~ DN40
    螺纹连接型涡轮流量传感器尺寸图
    图 6 DN15 ~ DN200
    法兰连接型涡轮流量传感器尺寸图

     

    公称通径( mm )

    L(mm)

    G

    D(mm)

    d(mm)

    孔数

    4

    295

    G1/2




    6

    330

    G1/2

    10

    450

    G1/2

    15

    75

    G1

    Ф 65

    Ф 14

    4

    20

    80

    G1

    Ф 75

    Ф 14

    4

    25

    100

    G5/4

    Ф 85

    Ф 14

    4

    32

    140

    G2

    Ф 100

    Ф 14

    4

    40

    140

    G2

    Ф 110

    Ф 18

    4

    50

    150


    Ф 125

    Ф 18

    4

    65

    170

    Ф 145

    Ф 18

    4

    80

    200

    Ф 160

    Ф 18

    8

    100

    220

    Ф 180

    Ф 18

    8

    125

    250

    Ф 210

    Ф 25

    8

    150

    300

    Ф 250

    Ф 25

    8

    200

    360

    Ф 295

    Ф 23

    12

     

     

    涡轮流量计使用说明

    一、概述

    涡轮流量计广泛用于测量封闭管道中与不锈钢 1Cr18Ni9Ti 、 2Cr13 及刚玉 Al 2 O 3 、硬质合金不起腐蚀作用,且无纤维、颗粒等杂质,工作温度下运动粘度小于 5×10 -6 m 2 /s 的液体,对于运动粘度大于 5×10 -6 m 2 /s 的液体,可对流量计进行实液标定后使用。若与具有特殊功能的显示仪表配套,还可以进行定量控制、超量报警等, 是流量计量和节能的理想仪表。

     

    二、工作原理

    图 1 所示为涡轮流量传感器结构简图,由图可见,当被测流体流过传感器时,在流体作用下,叶轮受力旋转,其转速与管道平均流速成正比,叶轮的转动周期地改变磁电转换器的磁阻值。检测线圈中的磁通随之发生周期性变化,产生周期性的感应电势,即电脉冲信号,经放大器放大后,送至显示仪表显示。

    图 1

     

     

    涡轮流量计的流量方程可分为两种:实用流量方程和理论流量方程。

    • 实用流量方程

    q v =f/K公式 1

    q m =qvρ公式 2

    式中q v, q m……分别为体积流量, m 3 /s ,质量流量, kg/s;

    f……流量计输出信号的频率, Hz;

    K……流量计的仪表系数, P/m 3 。

    流量计的系数与流量(或管道雷诺数)的关系曲线如图 2 所示。由图可见,仪表系数可分为二段,即线性段和非线性段。线性段约为其工作段的三分之二,其特性与传感器结构尺寸及流体粘性有关。在非线性段,特性受轴承摩擦力,流体粘性阻力影响较大。当流量低于传感器流量下限时,仪表系数随着流量迅速变化。压力损失与流量近似为平方关系。当流量超过流量上限时要注意防止空穴现象。结构相似的 TUF 特性曲线的形状是相似的,它仅在系统误差水平方面有所不同。

    图 2 涡轮流量计特性曲线

    传感器的仪表系数由流量校验装置校验得出,它不问传感器内部流体机理,把传感器作为一个黑匣子,根据输入(流量)和输出(频率脉冲信号)确定其转换系数,它便于实际应用。但要注意,此转换系数(仪表系数)是有条件的,其校验条件是参考条件,如果使用时偏离此条件系数将发生变化,变化的情况视传感器类型,管道安装条件和流体物性参数的情况而定。

    • 理论流量方程

    根据动量矩定理可以列出叶轮的运动方程

    公式 3

    式中J叶轮的惯性矩;

    dw/dt叶轮的旋转加速度;

    M1流体的驱动力拒;

    M2粘性阻力矩;

    M3轴承摩擦阻力矩;

    M4磁阻力矩。

    当叶轮以恒速旋转时,0 ,则M1 =M2 +M3 +M4 。经理论分析与实验验证可得

     

    公式 4

    式中n叶轮转速;

    qv体积流量;

    A与流体物性(密度、粘度等),叶轮结构参数(叶片倾角、叶轮直径、

    流道截面积等)有关的系数;

    B与叶片顶隙,流体流速分布有关的系数;

    C与摩擦力矩有关的系数。

    外学者提出许多理论流量方程,它们适用于各种传感器结构及流体工作条件。至今涡轮仪表特性的水动力学特性仍旧不很清楚,它与流体物性及流动特性有复杂的关系。比如当流场有旋涡和非对称速度分布时水动力学特性就非常复杂。不能用理论式推导仪表系数,仪表系数仍需由实流校验确定。但是理论流量方程有巨大的实用意义,它可用于指导传感器结构参数设计及现场使用条件变化时仪表系数变化规律的预测和估算。

     

    三、产品特点

    精确度,一般可达± 1%R 、± 0.5%R ,高精度型可达± 0.2%R ;

    重复性好,短期重复性可达 0.05%~0.2%, 正是由于具有良好的重复性,如经常校准或在线校准可得到的精确度,在贸易结算中是优先选用的流量计;

    输出脉冲频率信号,适于总量计量及与计算机连接,无零点漂移,抗干扰能力强;

    可获得很高的频率信号( 3~4kHz ),信号分辨力强;

    范围度宽,中大口径可达 1:20 ,小口径为 1:10 ;

    结构紧凑轻巧,安装维护方便,流通能力大;

    适用高压测量,仪表表体上不必开孔,易制成高压型仪表;

    专用型传感器类型多,可根据用户特殊需要设计为各类专用型传感器,例如低温型、双向型、井下型、混砂专用型等;

    可制成插入型,适用于大口径测量,压力损失小,价格低,可不断流取出,安装维护方便。

     

    四、 基本参数与技术性能

    1. 技术性能

    表 1

    仪表口径及连接方式

    4 、 6 、 10 、 15 、 20 、 25 、 32 、 40 采用螺纹连接

    ( 15 、 20 、 25 、 32 、 40 ) 50 、 65 、 80 、 100 、 125 、 150 、 200 采用法兰连接

    精度等级

    1%R 、 0.5%R 、 0.2%R (需特制)

    量程比

    1:10 ; 1:15 ; 1:20

    仪表材质

    304 不锈钢、 316 ( L )不锈钢等

    被测介质温度( ℃ )

    -20 ~+ 120 ℃

    环境条件

    温度- 10 ~ + 55 ℃ ,相对湿度 5 %~ 90 %,大气压力 86 ~ 106Kpa

    输出信号

    传感器:脉冲频率信号,低电平 ≤ 0.8V 高电平 ≥ 8V

    变送器:两线制 4 ~ 20mADC 电流信号

    供电电源

    传感器: +12VDC 、 +24VDC (可选)

    变送器: +24VDC

    现场显示型:仪表自带 3.2V 锂电池

    信号传输线

    STVPV3×0.3 (三线制), 2×0.3 (二线制)

    传输距离

    ≤ 1000m

    信号线接口

    基本型:豪斯曼接头,防爆型:内螺纹 M20×1.5

    防爆等级

    基本型:非防爆产品,防爆型: ExdIIBT6

    防护等级

    IP65

     

    2. 测量范围及工作压力

    表 2

    仪表口径

    ( mm )

    正常流量范围( m 3 / h )

    扩展流量范围( m 3 / h )

    常规耐受压力

    ( MPa )

    特制耐压等级 ( MPa )

    (法兰连接方式)

    DN 4

    0.04 ~ 0.25

    0.04 ~ 0.4

    6.3

    12 、 16 、 25

    DN 6

    0.1 ~ 0.6

    0.06 ~ 0.6

    6.3

    12 、 16 、 25

    DN 10

    0.2 ~ 1.2

    0.15 ~ 1.5

    6.3

    12 、 16 、 25

    DN 15

    0.6 ~ 6

    0.4 ~ 8

    6.3 、 2.5 (法兰)

    4.0 、 6.3 、 12 、 16 、 25

    DN 20

    0.8 ~ 8

    0.45 ~ 9

    6.3 、 2.5 (法兰)

    4.0 . 6.3 、 12 、 16 、 25

    DN 25

    1 ~ 10

    0.5 ~ 10

    6.3 、 2.5 (法兰)

    4.0 、 6.3 、 12 、 16 、 25

    DN 32

    1.5 ~ 15

    0.8 ~ 15

    6.3 、 2.5 (法兰)

    4.0 、 6.3 、 12 、 16 、 25

    DN 40

    2 ~ 20

    1 ~ 20

    6.3 、 2.5 (法兰)

    4.0 、 6.3 、 12 、 16 、 25

    DN 50

    4 ~ 40

    2 ~ 40

    2.5

    4.0 、 6.3 、 12 、 16 、 25

    DN 65

    7 ~ 70

    4 ~ 70

    2.5

    4.0 、 6.3 、 12 、 16 、 25

    DN 80

    10 ~ 100

    5 ~ 100

    2.5

    4.0 、 6.3 、 12 、 16 、 25

    DN 100

    20 ~ 200

    10 ~ 200

    2.5

    4.0 、 6.3 、 12 、 16 、 25

    DN 125

    25 ~ 250

    13 ~ 250

    1.6

    2.5 、 4.0 、 6.3 、 12 、 16

    DN 150

    30 ~ 300

    15 ~ 300

    1.6

    2.5 、 4.0 、 6.3 、 12 、 16

    DN 200

    80 ~ 800

    40 ~ 800

    1.6

    2.5 、 4.0 、 6.3 、 12 、 16

     

    五、仪表分类

    1 .按仪表功能分类, LWGY 系列涡轮流量计可分为 2 大类,即:

    涡轮流量传感器 / 变送器

    智能一体化涡轮流量计

    2 .功能说明

    涡轮流量传感器 / 变送器

    该类涡轮流量产品本身不具备现场显示功能,仅将流量信号远传输出。流量信号可分为脉冲信号或电流信号( 4-20mA ); 仪表价格低廉,集成度高,体积小巧, 特别适用于 与二次显示仪、 PLC 、 DCS 等计算机控制系统配合使用。

    按照不同的输出信号,该类产品可分为 LWGY- □ N 型 和 LWGY- □ A 型

    LWGY- □ N 型传感器: 12 ~ 24VDC 供电,三线制脉冲输出, 高电平 ≥ 8V , 低电平 ≤ 0.8V ;信号传输距离 ≤ 1000 米 ;

    LWGY- □ A 型变送器: 24VDC 供电,二线制 4-20mA 输出,信号传输距离1000 。

    该类 涡轮流量产品均分为基本型和防爆型( ExdIIBT6 )两种,外形如图

    图 3 图 4

    基本型传感器 / 变送器 防爆型传感器 / 变送器

    智能一体化涡轮流量计

    采用双排液晶现场显示,具有机构紧凑、读数直观清晰、可靠性高、不受外界电源干扰、抗雷击、成本低等明显优点。仪表具备仪表系数三点修正,智能补偿仪表系数非线性,并可进行现场修正。高清晰液晶显示器同时显示瞬时流量( 4 位有效数字)及累积流量( 8 位有效数字,带清零功能)。所有有效数据掉电后保持 10 年不丢。该类涡轮流量计均为防爆产品,防爆等级为: ExdIIBT6 。

    该类涡轮流量计按照供电方式、是否具备远传信号输出可分为 LWGY- □ B 型和 LWGY- □ C 型。

    LWGY- □ B 型:供电电源采用 3.2V10AH 锂电池(可连续运行 4 年以上); 无信号输出功能。

    LWGY- □ C 型:供电电源采用 24VDC 外供电,输出 4-20mA 标准两线制电流信号,并可根据不同的现场需要,可增加 RS485 或 HART 通讯。

    图 5 智能一体化涡轮流量计

    六、仪表选型

    表 3

    型 号

    说 明

    LWGY─

    /□

    /□

    /□

    /□

    /□

    /□

    4







    4mm ,标准量程 0.04 ~ 0.25m 3 /h ,宽量程为 0.04 ~ 0.4m 3 /h

    6

    6mm ,标准量程 0.1 ~ 0.6m 3 /h ,宽量轮为 0.06 ~ 0.6m 3 /h

    10

    10mm ,标准量程 0.2 ~ 1.2m 3 /h ,宽量程为 0.15 ~ 1.5m 3 /h

    15

    15mm ,标准量程 0.6 ~ 6m 3 /h 宽量程为 0.4 ~ 8m 3 /h

    20

    20mm ,标准量程 0.8 ~ 8m 3 /h ,宽量程为 0.4 ~ 8m 3 /h

    25

    25mm ,标准量程 1 ~ 10m 3 /h ,宽量程为 0.5 ~ 10m 3 /h

    32

    32mm ,标准量程 1.5 ~ 15m 3 /h ,宽量程为 0.8 ~ 15m 3 /h

    40

    40mm ,标准量程 2 ~ 20m 3 /h ,宽量程为 1 ~ 20m 3 /h

    50

    50mm ,标准量程 4 ~ 40m 3 /h ,宽量程为 2 ~ 40m 3 /h

    65

    65mm ,标准量程 7 ~ 70m 3 /h ,宽量程为 4 ~ 70m 3 /h

    80

    80mm ,标准量程 10 ~ 100m 3 /h ,宽量程为 5 ~ 100m 3 /h

    100

    100mm ,标准量程 20 ~ 200m 3 /h ,宽量程为 10 ~ 200m 3 /h

    125

    125mm ,标准量程 25 ~ 250m 3 /h ,宽量程为 13 ~ 250m 3 /h

    150

    150mm ,标准量程 30 ~ 300m 3 /h ,宽量程为 15 ~ 300m 3 /h

    200

    200mm ,标准量程 80 ~ 800m 3 /h ,宽量程为 40 ~ 800m 3 /h

    类 型

    N

    基本型, +12V 供电,脉冲输出,高电平 ≥8V 低电平 ≤0.8V

    A

    4 ~ 20mA 两线制电流输出,远传变送型

    B

    电池供电现场显示型

    C

    现场显示 /4 ~ 20mA 两线制电流输出

    C1

    现场显示 /RS485 通讯协议

    C2

    现场显示 /HART 通讯协议

    精度等级

    05

    精度 0.5 级

    10

    精度 1.0 级

    涡 轮

    类 型

    W

    宽量程涡轮

    S

    标准涡轮

    材 质

    S

    304 不锈钢

    L

    316 ( L )不锈钢

    防 爆


    无标记,为非防爆型

    E

    防爆型 ( ExmⅡCT6 或 ExdⅡBT6 )

    压力等级

    N

    常规 (参照表 2 )

    H(x)

    高压 (参照表 2 )

    注: DN15 ~ DN40 常规为螺纹连接,如希望采用法兰连接,请在公称通径后加( FL )

    例如,选用一台法兰连接式防爆型涡轮流量计测量柴油,管道为 DN40 、现场需要显示并远传电流信号,要求精度 0.5 级, 304 不锈钢材质,仪表耐压 16MPa 测量范围为标准量程,其产品型号应为: LWGY-40(FL)/C/05/S/S/E/H16

     

    七、安装尺寸

    传感器的安装方式根据规格不同,采用螺纹或法兰连接,安装方式见图 6 、图 7 、图 8 ,安装尺寸见表 4 。

    整表结构图 过滤器结构图

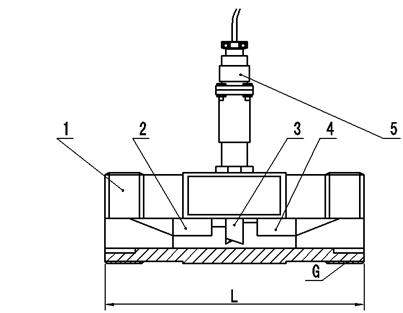
    1. 过滤器 2. 前直管段 3. 叶轮 4. 前置放大器 5. 壳体 6. 后直管段 1. 压紧圈 2. 螺栓 4 × 14 3. 垫圈 4. 密封垫圈

    5. 钢丝 1Cr18Ni9Ti-0.8 × 2.5 6. 过滤网 7. 座

    图 6LWGY-4 ~ 10 传感器结构及安装尺寸示意图

     

     

    1. 壳体 2 .前导向件 3 .叶轮 4 .后导向件 5 .前置放大器

    图 7LWGY-15 ~ 40 传感器结构及安装尺寸示意图

     

     

    1. 球轴承 2 .前导向件 3 .涨圈 4 .壳体

    5 .前置放大器 6 .叶轮 7 .轴承 8 .轴

    图 8LWGY-50 ~ 200 传感器结构及安装尺寸示意图

     

     

    表 4

    公称通径 ( mm )

    L(mm)

    G

    D(mm)

    d(mm)

    孔数

    4

    295

    G1/2




    6

    330

    G1/2

    10

    450

    G1/2

    15

    75

    G1

    Ф65

    Ф14

    4

    20

    80

    G1

    Ф75

    Ф14

    4

    25

    100

    G5/4

    Ф85

    Ф14

    4

    32

    140

    G2

    Ф100

    Ф14

    4

    40

    140

    G2

    Ф110

    Ф18

    4

    50

    150


    Ф125

    Ф18

    4

    65

    170

    Ф145

    Ф18

    4

    80

    200

    Ф160

    Ф18

    8

    100

    220

    Ф180

    Ф18

    8

    125

    250

    Ф210

    Ф25

    8

    150

    300

    Ф250

    Ф25

    8

    200

    360

    Ф295

    Ф23

    12

     

    八、流量计安装注意事项

    ( 1 )安装场所

     

    传感器应安装在便于维修,管道无振动、无强电磁干扰与热辐射影响的场所。涡轮流量计的典型安装管路系统如图 9 所示。图中各部分的配置可视被测对象情况而定,并不都需要。涡轮流量计对管道内流速分布畸变及旋转流是敏感的,进入传感器应为充分发展管流,因此要根据传感器上游侧阻流件类型配备必要的直管段或流动调整器,如表 5 所示。若上游侧阻流件情况不明确,一般推荐上游直管段长度不小于 20D ,下游直管段长度不小于 5D ,如安装空间不能满足上述要求,可在阻流件与传感器之间安装流动调整器。传感器安装在室外时,应有避直射阳光和防雨淋的措施。 图 9

    表 5

    上游侧阻流件类型

    单个 90 o 弯头

    在同一平面上的两个 90 o 弯头

    在不同平面上的两个 90 o 弯头

    同心渐缩管

    全开阀门

    半开阀门

    下游侧长度

    l/DN

    20

    25

    40

    15

    20

    50

    5

     

    ( 2 )连接管道的安装要求

    水平安装的传感器要求管道不应有目测可觉察的倾斜(一般在 5 以内),垂直安装的传感器管道垂直度偏差亦应小于 5 。

    需连续运行不能停流的场所,应装旁通管和可靠的截止阀(见图 9 ),测量时要确保旁通管无泄漏。

    在新铺设管道装传感器的位置先介入一段短管代替传感器,待:扫线工作完毕确认管道内清扫干净后,再正式接入传感器。由于忽视此项工作,扫线损坏传感器屡见不鲜。

    若流体含杂质,则应在传感器上游侧装过滤器,对于不能停流的,应并联安装两套过滤器轮流清除杂质,或选用自动清洗型过滤器。若被测液体含有气体,则应在传感器上游侧装消气器。过滤器和消气器的排污口和消气口要通向安全的场所。

    若传感器安装位置处于管线的低点,为防止流体中杂质沉淀滞留,应在其后的管线装排放阀,定期排放沉淀杂质。

    被测流体若为易气化的液体,为防止发生气穴,影响测量精确度和使用期限,传感器的出口端压力应高于公式5计算的低压力p min

    p min =2△ p+1.25p vPa公式 5

    式中p min 低压力, Pa ;

    △p 传感器大流量时压力损失, Pa ;

    p v 被测液体高使用温度时饱和蒸汽压, Pa 。

    流量调节阀应装在传感器下游,上游侧的截止阀测量时应全开,且这些阀门都不得产生振动和向外泄漏。对于可能产生逆向流的流程应加止回阀以防止流体反向流动。

    传感器应与管道同心,密封垫圈不得凸入管路。液体传感器不应装在水平管线的高点,以免管线内聚集的气体(如停流时混入空气)停留在传感器处,不易排出而影像测量。

    传感器前后管道应支撑牢靠,不产生振动。对易凝结流体要对传感器及其前后管道采取保温措施。


    没有评价数据

    温馨提示 ×
    商品已成功加入购物车!
    购物车共 0 件商品
    去购物车结算
    南京迪泰尔仪表机电设备有限公司版权所有 声明:网站常规报价 仅供参考 非标产品以实际为准。